長靴洗浄台
- TOP
- 長靴洗浄台
特長
・水の出るブラシで長靴を軽くこすって洗浄してください。
・液体石鹸タンクが付いているため、靴の洗浄が簡単です。
・材質はオールステンレス(SUS304)なので、衛生的で耐久性が抜群。
・洗剤やお湯の使用で、食肉片や動物脂肪の汚れ・泥・粉体もきれいに落とせます。
・設置場所:食品工場、水産工場、給食センター、粉体工場、その他衛生施設
《SG-BSシリーズ》
|
型式 |
外寸法(W×D×H)mm |
区分 |
使用人数 |
|---|---|---|---|
|
SG-BS1 |
500×500×850 |
踏み台(×)鏡(×) |
1人用 |
|
SG-BS2 |
1200×500×850 |
踏み台(×)鏡(×) |
2人用 |
|
SG-BS3 |
1800×500×850 |
踏み台(×)鏡(×) |
3人用 |
《SG-BPシリーズ:スパーミラー付き》
|
型式 |
外寸法
|
区分 |
人数 |
|---|---|---|---|
|
SG-BP1 |
500×500×1800 |
踏み台(×)鏡(○) |
1人用 |
|
SG-BP2 |
1200×500×1800 |
踏み台(×)鏡(○) |
2人用 |
|
SG-BP3 |
1800×500×1800 |
踏み台(×)鏡(○) |
3人用 |
《SG-BGシリーズ:踏み台付き》
|
型式 |
外寸法
|
区分 |
人数 |
|---|---|---|---|
|
SG-BG1 |
700×900×850 |
踏み台(○)鏡(×) |
1人用 |
|
SG-BG2 |
1200×900×850 |
踏み台(○)鏡(×) |
2人用 |
|
SG-BG3 |
1800×900×850 |
踏み台(○)鏡(×) |
3人用 |
《SG-BPGシリーズ:踏み台・スパーミラー付》
|
型式 |
外寸法
|
区分 |
人数 |
|---|---|---|---|
|
SG-BPG1 |
700×900×1800 |
踏み台(○)鏡(○) |
1人用 |
|
SG-BPG2 |
1200×900×1800 |
踏み台(○)鏡(○) |
2人用 |
|
SG-BPG3 |
1800×900×1800 |
踏み台(○)鏡(○) |
3人用 |
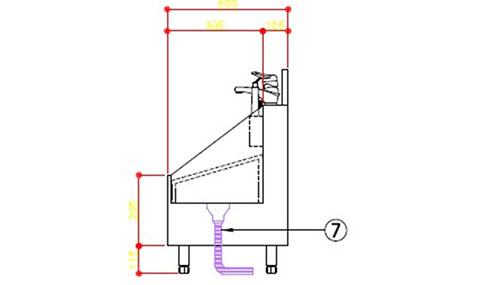
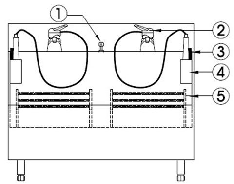
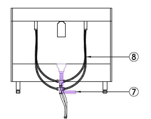
【各部の名称】
| No | 名称 | 機能および説明 |
|---|---|---|
| ① | 液体石けんポンプ | ポンプを押すと、液体石けんが出てきます。
ポンプは、反時計方向に回すと開けられます。 石けんがなくなったら、このポンプを開けて石けんを補充してください。 |
| ② | 水栓 | レバーハンドルを動かして、水温と水の量を調整してください。 |
| ③ | ブラシ | 長靴についている汚れを落とす時使います。 |
| ④ | ブラシ収納箱 | 使い終わったブラシは、収納箱に入れて保管してください。 |
| ⑤ | 足置き台 | 長靴を洗う時、長靴を履いた足を乗せる台です。 |
| ⑥ | 排水口 | 長靴を洗った後の排水が集まって流れ出ていくところです。 |
| ⑦ | 排水パイプ | パイプの直径:32φ |
| ⑧ | 給水パイプ | 水栓に水を送るためのパイプです。
水栓には2本(冷水用と温水用)の給水パイプがついています。 パイプの直径:15A |
| ⑨ | 液体石けん容器 | 容器の容量:500ml |
【使用方法】
- ①石けんポンプ を開けて液体石けんを補充してください。
-
②水栓を開けると、ブラシから水が出てきます。
水栓のレバーハンドルを動かして水温と水の量を調整してください。 - ③長靴をはいた足を足置き台に乗せて、水の出るブラシで軽くこすって長靴についている汚れを落としてください。
-
④油など 、水だけでは取れにくいしつこい汚れは、ブラシに石けんをつけて丁寧にこすって汚れを落としてください。
その後、お湯を使って汚れを洗い流してください。
★ブラシは消耗品です。古くなりましたら、新しいブラシに交換してください。 - ⑤靴の洗浄が終わったら、ブラシは収納箱に入れて保管してください。
【使用時注意事項】
- ①使用時、ブラシのホースがねじられないようにご注意ください。(ホースが破損する可能性があります)
- ②石けん補充の時は、汚れが容器の中に入らないようにお気を付けてください。